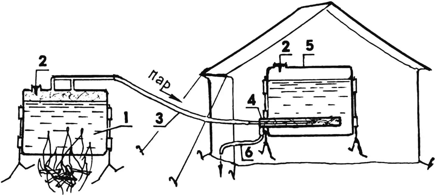
I read in your magazine how frozen water columns can be heated with steam. I recalled another application of a similar device — for heating people in camping conditions: in a tent, a hut, under an awning on a boat — after all, you can’t light a fire inside. In this case, a portable steam heating system can help, consisting of a steam generator (for example, a kettle), a hose, and a metal heating battery (say, a canister).
Specially made flat metal containers of 8 — 12 liters can be used as a steam generator (“boiler”) and heater. The first one has a fitting in the upper part for connecting a steam pipe hose to a heating tube (“coil”) in the lower part of the heater, located in the tent. The “boiler” neck is closed with a non-threaded plug, which also serves as a safety valve maintaining safe pressure.
Camping steam heating:
1 — steam generator (“boiler”); 2 — safety plug; 3 — steam pipe hose; 4 — heating tube (“coil”); 5 — heating battery; 6 — steam condensate drain tube
The heater in working condition is filled with water, which is heated from the “coil” tube. The heater has high thermal inertia, which allows the system to take breaks of up to 1 hour or more during operation. During these breaks, the steam generator itself can be brought inside and further used as an additional heater.
M. LADZIN



