To check the operation of the trailer’s lighting system, two people are needed: the driver turns on the switches and presses the brake pedal, while an assistant monitors whether the signals on the trailer light up correctly. I made a device that allows you to quickly check the operation of the trailer’s electrical equipment alone.
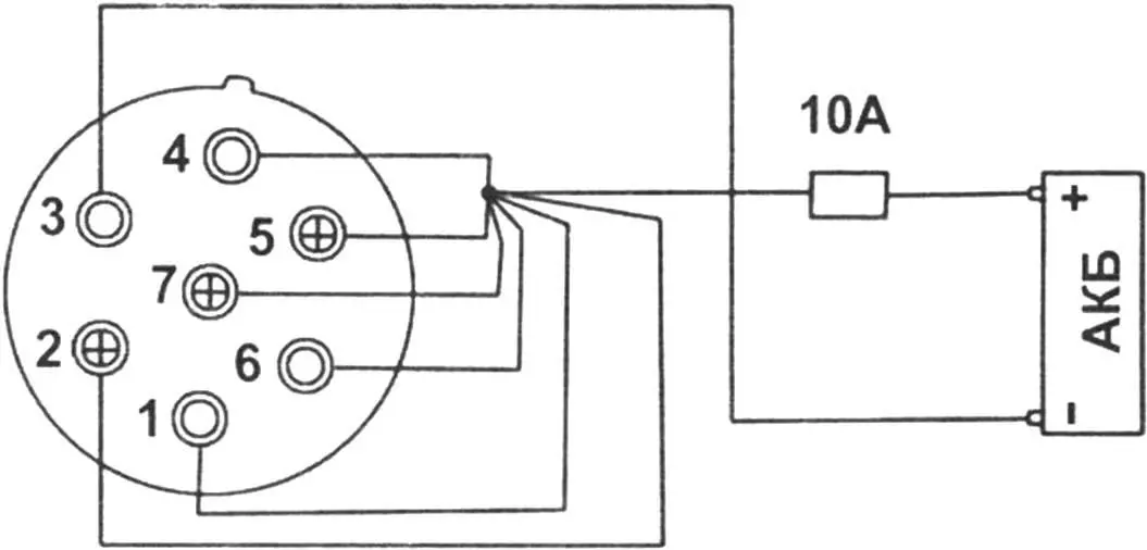
The main element of the device is a standard automotive connector for connecting the trailer’s electrical wiring. I fixed it to a handle from a “tired” electric drill, from which the fasteners were previously removed. Inside the connector, I connected all six contacts except the “ground” (No. 3 on the diagram) to each other and to a wire about a meter long, going to the positive terminal of the battery through a 10A fuse. Short circuits to “ground” in trailer wiring do occur, so a fuse is mandatory! The “ground” contact is connected by a wire to the “minus” of the battery. Of course, you can take long wires and reach the battery installed on the car, but I used a small 12V battery – it’s much more convenient.

1 – left “turn signal”; 2 – reverse light (optional); 3 – “ground”: 4 – right “turn signal”; 5 – right “tail light”; 6 – “stop signal”; 7 – left “tail light”
I operate a trailer from the Smorgon Aggregate Plant (Belarus), the consumer qualities of which I am very satisfied with, by the way. It has separate wiring to the right and left tail lights (contacts No. 1 and No. 5 on the diagram). On other trailers, the signals are usually combined and “sit” on one contact. In addition, once at the dacha I had to maneuver in reverse in complete darkness, after which I equipped the trailer with reverse lights. Their activation is connected to contact No. 2 on the diagram.
Now checking the trailer’s electrical equipment is simple and fast. I connect the probe connector to the trailer plug, and immediately see if all the lights are working. And there’s no need to run from the trailer to the car, turn something on and run back.

1 – connector for connecting to trailer wiring; 2 – wire about 1 m long; 3 – connector for connecting to wires from battery; 4 – 10A fuse; 5 – compact battery
Comment by “M-K”. The author’s trailer is equipped with lights in which the “stop signal” and “tail light” are made separately from each other. In this case, everything is really simple and convenient. But in most trailers, these signals are combined in one light using a dual-filament bulb, and when the “stop” is on, it can be difficult to determine if the “tail light” is on. Perhaps it makes sense to connect the “stop” contact (No. 6 on the diagram) to the positive wire through a miniature switch to exclude its activation when checking “tail lights”. This will make the device more universal.
«Modelist-Konstruktor» No. 4’2025, Sergey KOROLEV, Gomel (Belarus)



