I discovered the sketch of a small motorcar-truck, which this article is about, in an old folder during a major cleanup and reorganization in my garage archive. It brought back memories of those times when enthusiasm for technical creativity—building homemade machines, boats, aircraft, and various other constructions—was, one might say, widespread.
I also developed a desire to design and build a mini-truck. By that time, I already had experience independently building a tracked snowmobile (see “Modelist-Konstruktor” No. 11, 1991) and other equipment, which I built quite quickly. However, I approached this project thoroughly, as they say. I designed it unhurriedly, studying the experience of craftsmen and specialists from magazines and books, drew up layouts using scale silhouettes (front and side views) of a person of my height (170 cm) and available and intended-to-use units. As a model, I took the cargo motor rickshaws I saw on television, swarming in countless numbers on the streets and roads of Indochina countries. As components, I mainly used decommissioned units and spare parts from the SZD motorized wheelchair and the “Muravey” (Ant) cargo scooter as the most accessible at that time, and also the cheapest. I even made a scale plasticine model (on a blank) of this truck. Gradually, I arrived at the so-called wagon layout scheme of a two-seat four-wheeled compact cargo vehicle with front-wheel drive and steering wheels.
I started building the mini-motorcar with the body, or more precisely, by restoring an old one—from the “Muravey” cargo scooter. I additionally reinforced the body with welded steel gussets, installing them at the corners where vertical and horizontal elements of the frame’s power set meet.

1 — bumper; 2 — front fascia (steel sheet s1); 3 — headlight (from agricultural machinery); 4 — windshield (from “Zhiguli” car); 5 — door; 6 — door window (plexiglass, 2 pcs.); 7 — canopy (fabric “teza”); 8 — body (from “Muravey” cargo scooter); 9 — rear opening side; 10 — rear (support) wheel (2 pcs.); 11 — front (steering, driving) wheel (2 pcs.); 12 — seat (2 pcs.); 13 — rear viewing window (plexiglass); 14 — steering wheel (from “Muravey” cargo scooter); 15 — rearview mirror (purchased item); 16 — canopy arch (duralumin tube Ø14, 3 pcs.); 17 — cab (steel sheet s1); 18 — rear axle (tube Ø60)
Next, I made two frame side members from steel water pipe with an outer diameter of 32 mm—cut to size and bent according to the drawing, heating with a blowtorch. Installing them at a distance from each other equal to the width of the reducer housing (also used from the “Muravey” cargo scooter), I welded the front ends to the bumper, and connected the rear part with several cross members and here, on support struts, secured the body. The front part of the side members, like the front bumper, served as the basis for the cab frame, which I made mainly from steel tube with an outer diameter of 20 mm and wall thickness of 1.5 mm. The frame consists of door opening frames, rear posts, cross members, and longitudinal roof elements. The windshield frame was formed by the upper parts of the door opening posts, the front roof cross member at the top, and another cross member connecting the front door posts approximately in the middle. The cab frame can also include the upper bumper element, as well as several short posts connecting it (the element) and the middle cross member. Together, they form the engine compartment, although the engine itself is mostly located in the cab and covered with a hood-cowl. This engine placement can be considered a disadvantage of the design, but it turned out compact, and the kickstarter together with the gear shift lever ended up under the right foot.
The two-stroke engine with a displacement of 500 cm3 and power of 13 hp with forced air cooling was used from the “Tula” motorcycle.
The truck’s rear axle is not driving, so it’s quite simple. It consists of a homemade beam made from steel tube with an outer diameter of 60 mm and wheels with hubs from the SZD motorized wheelchair. But the axle suspension is like that of a real car. It contains all the necessary elements: there are longitudinal and transverse links with silent blocks, springs, and hydraulic shock absorbers.

1 — door opening frame; 2 — roof cross member; 3 — roof frame longitudinal element; 4 — cab post; 5 — body side grid (side extension); 6 — body; 7 — body support strut (2 pcs.); 8 — wheel (from motorized wheelchair, 4 pcs.); 9 — rear axle longitudinal link, 2 pcs.); 10 — frame side member (tube Ø32, 2 pcs.); 11 — wheel arch (2 pcs.); 12 — reducer; 13 — steering mechanism rack (from motorized wheelchair); 14 — bumper (tube Ø32); 15 — engine (from “Tula” motorcycle); 16 — steering cardan shaft; 17 — starting lever and gear shift lever; 18 — reducer mounting posts (4 pcs.); 19 — frame posts (4 pcs.); 20 — front fascia posts (4 pcs.); 21 — front wheel unit; 22 — rear axle suspension spring (2 pcs.); 23 — transverse link; 24 — rear axle beam (tube Ø60); 25 — silent block (6 pcs.); 26 — shock absorber (2 pcs.); 27 — body rear opening side
The front axle is of more complex construction, since, as mentioned above, it is both driving and steering. Wheels with hubs and steering knuckles were used from the motorized wheelchair, and as wheel drives—cardan shafts from the “Muravey”. The front axle suspension is implemented on spring-hydraulic shock absorbers from some agricultural machinery.
The steering mechanism (pinion-rack), steering wheel were taken from the motorized wheelchair, but the solid steering shaft had to be replaced with a composite homemade one with cardan joints.
Brakes are mechanical and only on the rear wheels.
Seats are foam, upholstered with leatherette, with bases made of duralumin sheet.

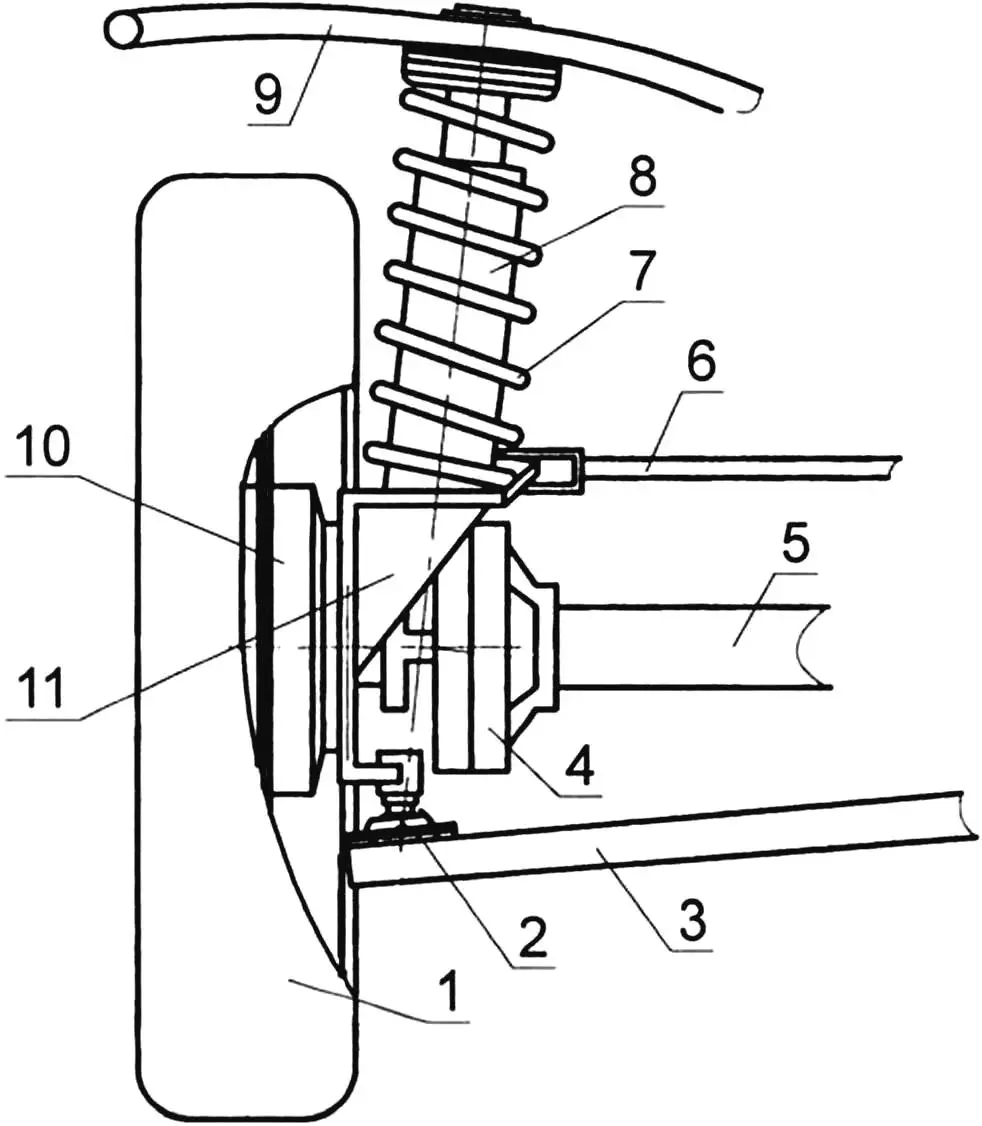
1 — wheel; 2 — ball joint (from “Zhiguli” car); 3 — lever; 4 — cardan joint; 5 — half-shaft; 6 — steering tie rod; 7 — spring; 8 — shock absorber; 9 — shock absorber upper support (wheel arch tube); 10 — hub (from “Muravey”); 11 — steering knuckle
The cab sheathing is a steel sheet of millimeter thickness. The wheel arches are also covered with the same sheet, and the hood-cowl is also made from it. An opening was cut in the rear cab wall and plexiglass was inserted into it, as well as into the door windows. The windshield was cut from automotive triplex.
Headlights and parking lights are tractor-type, installed in the front fascia niches.
A “ventilated” (without front and rear walls) canopy made of waterproof fabric was sewn onto the body.
The truck could carry a load of up to 350 kg, and when empty, the speed “went off the scale” over 50 km/h.
Later, it was planned to insulate the cab from the inside with polyurethane, but this was not to be. Driving around the yard in such a truck made no sense, and registering it with the state inspection caused great difficulties, and in the end, the little car was disassembled into units and components used for other constructions.
“Modelist-Konstruktor” No. 2’2009, A. MATVEYCHUK



