Many owners have to start developing their garden, vegetable garden, or dacha plot by ensuring it has water. I began with solving this problem as well.
The water on the plot lay relatively close to the surface — at a depth of about 4.5 m. A shaft well could have been dug. But water consumption was expected to be irregular and uneven, and stagnant water is not the best not only for drinking or cooking, but also for irrigation.
To reach the water, it was necessary to pass through a layer of fairly hard dry loam. And although I made the well a driven (Abyssinian) type, I still drilled a well for it beforehand and didn’t drive the filter, but lowered it into it, like a casing pipe.
I installed a conventional pump — piston type in the form of a column with a manual lever drive.
At first, it wasn’t difficult to pump the necessary volume of water with it (or so it seemed to me, since my wife most often extracted the life-giving moisture). But as the plot was developed, the required amount of water also increased. My wife began to call me for help more and more often. Then I decided to mechanize this operation.


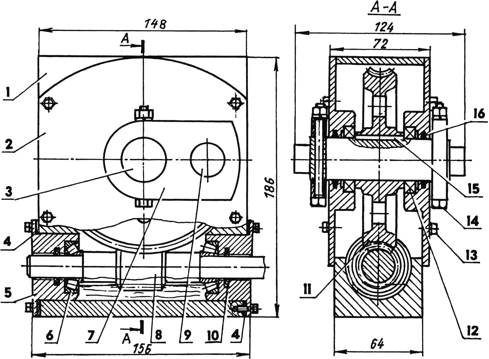
1 — pump; 2 — guide posts (steel, sheet s2); 3 — piston rod (brass, bar Ø16); 4 — rollers; 5 — connecting rod (steel, pipe 12×2, 2 pcs.); 6 — reducer; 7 — crank arm (D16, sheet s12, 2 pcs.); 8 — coupling (duralumin, rubber); 9 — electric motor (N = 600 W, 1380 rpm); 10 — starter with switch; 11 — console platform (St3, sheet s4); 12 — strut (St3, bar Ø10, 2 pcs.); 13 — support stand (duralumin, pipe 22×22)
The mechanism’s design was predetermined by an available suitable worm pair with a single-start worm. Based on it, I made a compact reducer with a gear ratio i = 44.
However, it should be noted that this work requires special equipment and qualified execution. Therefore, it’s better to focus on using a ready-made reducer with appropriate parameters or entrust its manufacture to a specialist.
I cut a simple rectangular reducer housing from a duralumin block, drilling holes in it with mutually perpendicular intersecting axes with diameters slightly larger than those of the worm and wheel.
I installed the ends of the worm shaft in roller radial-thrust bearings of series 7203, and the wheel shaft — in ball bearings of series 100096. The bearing housings are also made of D16.

1 — reducer housing (D16); 2 — reducer cover — worm wheel shaft bearing housing (D16, s4, 2 pcs.); 3 — worm wheel shaft (steel 45, bar Ø30); 4 — adjustment plates (St3, s0,25, 8 pcs); 5 — worm bearing housing (D16, 2 pcs); 6 — bearing 7203 (2 pcs); 7 — crank arm; 8 — worm; 9 — connecting rod axis (steel 45, bar Ø20); 10 — seal; 11 — worm wheel; 12 — bearing 100096; 13 — screws M5 (16 pcs); 14 — bolt M6 (2 pcs); 15 — key (steel 45); 16 — gland
I placed several thin steel shims between the bearing housings and the reducer housing. By removing some shims from one side and adding them to the other, it’s possible to adjust the preload of the roller bearings and the gap between the worm thread and the wheel teeth.
To convert the rotational motion of the reducer’s output shaft into the reciprocating motion of the rod with the piston, I made a crank-connecting rod mechanism consisting of a pair of crank arms (cranks), two connecting rods (links), and a piston with a rod (slider).
The straight-line reciprocating motion of the rod is ensured by two U-shaped vertical guides along which a pair of rollers made of ball bearings travel. The guides are bent from 2-mm steel sheet.
The resulting reducer doesn’t need any special maintenance during operation. The only thing I do for its reliable operation is pour a little lubricant into the reducer through the hole for the thrust bearing housing, and even that — only at the beginning of the dacha season.
Now we no longer experience problems with providing the plot with water, as well as with excessive physical exertion in connection with this, having shifted such concerns to the electrified pump.

1 — water intake (pipe 2″); 2 — check valve ball of the pump; 3 — pump housing (steel, pipe 99×4,5); 4 — piston (brass); 5 — sealing ring (rubber s5); 6 — piston check valve washer (brass, sheet s2); 7 — outlet pipe (pipe 1/2″); 8 — upper flange (St3, sheet s4); 9 — guide (St3, bar Ø40); 10 — piston rod; 11 — seal (rubber); 12 — valve travel limiter (nut M16); 13 — piston mounting locknut (M16); 14 — lower flange (St3, sheet s4); 15 — coupling
As a drive for it, I used a three-phase electric motor at 1380 rpm with a power of 600 W with windings connected in a delta configuration. The motor is powered from a household single-phase AC network with a voltage of 220 V through batteries of starting and running capacitors (the journal has written repeatedly about selecting capacitor battery capacities and connecting them to the circuit).
I connected the electric motor shaft to the reducer worm through a rubber coupling with cross-shaped slots on opposite ends.
I mounted the entire drive — the electric motor itself and the reducer made for it — on a console platform made of 5-mm steel sheet. However, due to the significant mass of the motor, I had to add a support stand made of duralumin pipe under it.
The pump itself, although homemade, differs little in design from serial ones. Its housing is made of a steel pipe with an internal diameter of 90 mm. The bottom and cover, for the possibility of inspection and repair of the check valves and piston, are made removable. The inner surface of the bottom flange has a slight taper toward the central inlet opening to ensure more precise operation of the check valve ball. The piston is brass with a sealing rubber ring. Its check valve is usually made petal-type from rubber. In my case, it’s made of brass in the form of a washer. The contacting surfaces of the piston and check valve are lapped. After replacing the manual lever with an electric drive, the piston stroke decreased to 90 mm, but I left the height of the pump’s suction chamber unchanged.
The pump’s capacity is less than the water flow (inflow) into the well. If necessary, through a hose it provides pumping of water into a container standing at a low height.
«Modelist-Konstruktor» No. 10’2003, E. EVSIKOV



