Today we introduce readers to two such works, interesting above all because they address an area of home farming that is still only weakly covered by technical creativity: beekeeping. For it, club members of the Palace of Pioneers and Schoolchildren of the Bauman District in Moscow have created a very convenient original hive for use, especially advantageous for mobile apiaries. And the device made in the design club of the Chernihiv Oblast SЮT (SЮT) greatly facilitates processing the hive and bees infected with varroatosis.
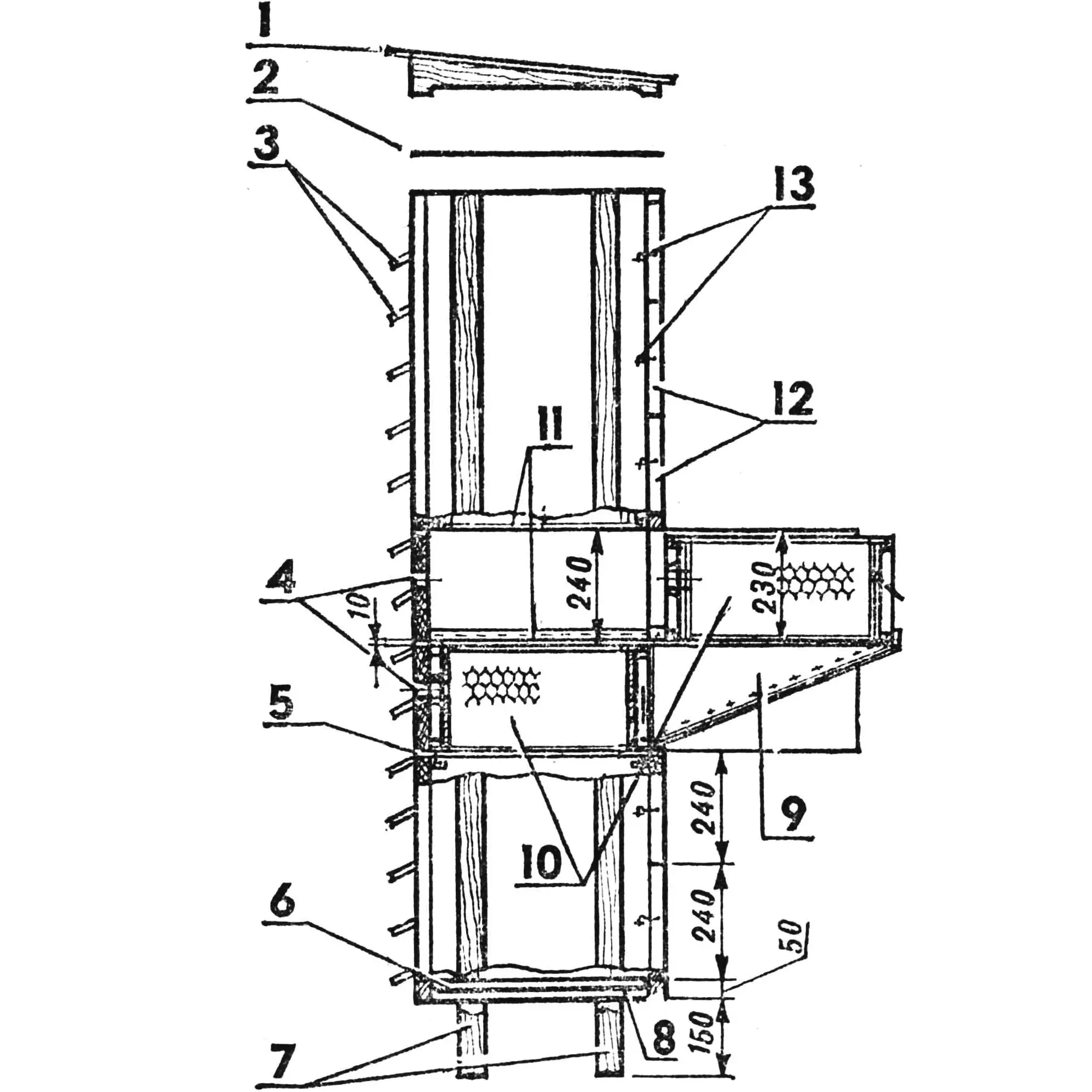
The base of the hive is a column with entrance holes (flight openings) on the front, doors on the back, and runners from inside on the side walls. On the runners rest seven light plywood cassettes with honeycomb frames. For inspecting and replacing frames, the cassette can be pulled out onto a removable metal table. From below and above, access to the combs is blocked by anti-mite grilles; a single-slope roof with ventilation gaps covers the hive from bad weather.
The walls of the column are assembled from 38 mm thick panels. These are wooden frames made from 50X30 mm slats, filled with foam and sheathed inside with 4 mm plywood, and outside with hardboard.

Entrance holes are positioned opposite each cassette: the central entrances have Ø 30 mm, and the slot openings with a width of 200 and a height of 10 mm coincide with the gaps between cassettes. Landing boards are mounted under them. Seven doors, locked with latching hooks, are hinged on piano or window hinges.
Runners — the cassette holders — are fastened to the side walls with screws at a 50 mm pitch. These are angle pieces with a cross-section of 20X20X1.5 mm. In the rear edges of the walls, slots are made into which hooks and stops of the removable table are inserted, engaging with M5 screws.
The column is assembled on screws Ø 5X70 mm with a 150 mm pitch; inside it is coated twice with hot drying oil (olifa), and outside it is painted.

1 — roof with ventilation gaps, 2 — upper anti-mite grille, 3 — landing boards, 4 — central entrance holes, 5 — slot entrance hole, 6, 8 — pull-out tray with a lower anti-mite grille, 7 — support posts, 9 — removable table, 10 — honeycomb frames, 11 — runners, 12 — doors, 13 — latching hooks.
In the column, a 10 mm gap is left between honeycomb frames. This makes it possible to pull them out without injuring the bees when cassettes are overflowing with propolis, and also to isolate any parts of the hive using horizontal grilles or plywood partitions.
The fact that each cassette rests only on its own runners allows you to process any cassette without affecting the others. While in a multi-body (multi-storey) hive, when changing bodies you have to remove all upper storeys in advance. In the proposed design, inspecting or replacing frames in any cassette is possible with minimal time and effort.

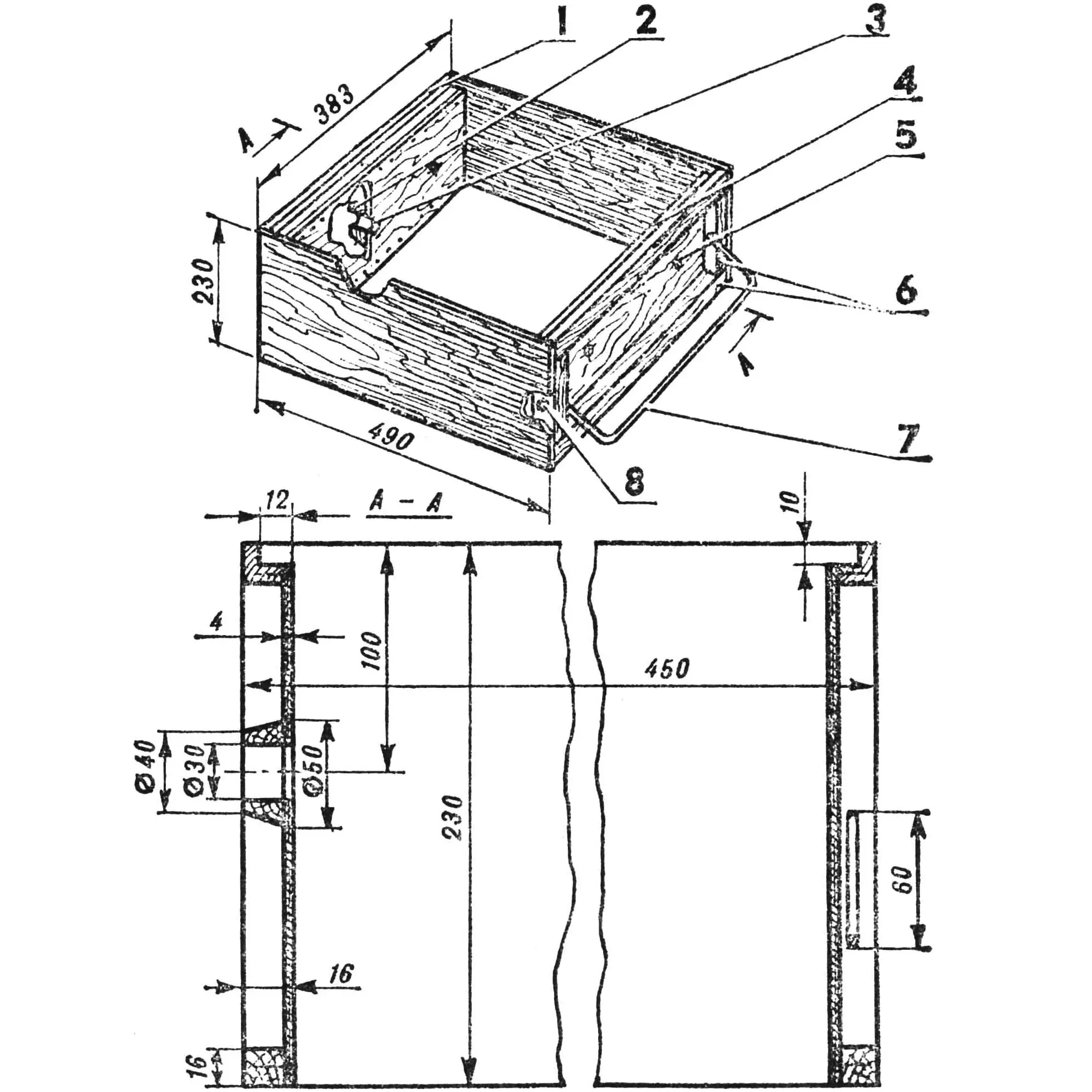
1, 4 — rails with grooves for honeycomb frames, 2 — adapter for bees, 3 — central entrance hole, 5 — opening Ø6—7 mm, 6 — bottom and side rails, 7 — wire bracket, 8 — nut.
In one column you can keep from one to four bee colonies or nucs that work on common frames, while having free cassettes available for “growing” colonies. In short, the advantages of multi-body hives and two-queen keeping are practically realized. Using pull-out cassettes makes it possible to use frames not only 470X230 mm in size, but also 470X300, 470X150 mm and others (with corresponding cassettes).
Such a hive is especially convenient for nomadic apiaries on car trailers. It is also possible to create double, triple and so on versions with common side walls (for stationary pavilions), which provides substantial savings of building materials.

1 — angle piece with a stop recess, 2, 6 — side walls, 3 — angle piece with a fastening recess, 4 — guide angle pieces, 5 — cut-out for a partition, 7 — tray of the table.
A cassette is a box without a lid and bottom, made from 4 mm thick plywood and wooden battens of 16X16 mm. For the walls, plywood is used with the outer wood layers arranged lengthwise. First, the cassette frames are assembled (preferably with tenons). To them are glued and nailed end walls first, then side walls (nails 20X1 or 22X1.5 mm are driven in from the plywood side with a 30 mm pitch only into the bottom and side battens; the top is excluded because a groove 12X10 mm is selected in it for the frame shoulders).
In the end walls, two openings Ø 6—7 mm are drilled arbitrarily for bees and drones that accidentally ended up in the closed volume to escape. In addition, an entrance hole Ø 30 mm is made in the front wall and a conical adapter for bees is glued in place. Then a wire bracket is installed. Nuts are screwed onto its ends that pass through the side battens.

1 — plywood, 2 — wooden block, 3 — hardboard, 4 — cut, 5 — runner (angle piece 20X20X1.5 mm), 6 — M5 screws, 7 — foam.
After cleaning with sandpaper, the cassette blank is coated twice with hot vegetable oil (100 g per cassette). Plywood impregnated with oil practically will not swell from moisture, will not get covered with propolis, and will not stick to the runners. After filling the cassette with frames, it becomes sufficiently rigid.
The removable table is assembled from 1 mm thick sheet duralumin plates and angle pieces of the same material with a cross-section of 30X30X2 mm, connected with rivets Ø 3 mm at a 50 mm pitch. The inclined tray helps to quickly move the bees from the serviced cassette to the lower one, preventing them from being injured when the cassette is returned to its place.
If another colony is located below, a duralumin partition plate can be inserted into the vertical guides of the table, and the bees that left the extended frames will gather into the formed box. Using a quick-removable table greatly eases the beekeeper’s work and allows you to do without stands and lifting devices.
The simplicity of the design, accessibility of materials for fabrication, ease and convenience of servicing, and the small weight of pull-out cassettes compared with storeys of multi-body hives make it possible to involve schoolchildren in beekeeping.
“M-K” 1’88, G. YAKOVLEV



