In this article I will try to tell about my attempt to make a water cooling system for CPU in the home. This will describe the highlights and technical details on my own experience. If you are interested in a detailed illustrated manual for the manufacture, Assembly and installation of such a system, it is welcome under the cat.
ALUMINUM CANS
Buying another jar of soft drink, consider the following – aluminum cans always be recyclable. Unlike plastic, aluminum will not deteriorate, no matter how many times it is melted and used again. Aluminum cans, of course, very light. It must be hard to imagine that they are made from a huge roll of aluminum sheet and weighing 9 tons! The width of the sheet about half a metre and one roll is enough for the manufacture of 750,000 cans.
THE HUNT FOR HEAT
Drafts — no. In the preparation of housing for the winter the first step in city apartments is the sealing of Windows and doors. The simplest solution for Windows is pozatykat cracks and seal them with paper tape. Of course, this measure makes it impossible to open the window for the entire winter, but reduces heat loss.
Ventilation can also produce through the balcony door or specially left unburied part of the window (in the case of tricuspid of its design), as well as the window.
WITH ONE CALL
In your journal in one of the rooms of yesteryear has published an article — “the plug”. I must say that the proposed options combined metal dowels rather complicated to manufacture, but their use is justified for hollow panels and panels of partitions, which in modern buildings are not too frequent. Novosel is usually found with the need to drill or punch holes in concrete, brick and rarely in gipsolitovye panels, and requires significant skills, experience and special tools. Besides produce during operation the noise causes discomfort to the neighbors.
ONE – TWO
Of course, easier to repair in the apartment with an assistant. However, one who has experience with Wallpaper, knows, folding smeared adhesive Wallpaper in a certain way, you can cope alone, would have been only a ladder. However, it is only papering the walls. And now often, and the ceiling whitewashed, and paste over Here too without an assistant to do difficult.
Though, according to the Hungarian magazine”, Earmaster” and here savvy people find a way out. One of them is the use of unusual nozzles on a metal ladder. Its task is not just to extend the ladder, and just replace the absent assistant at pasting of ceilings. While one end of the ceiling Wallpaper is glued, the rest of the cloth is supported by the nozzle, giving the opportunity to single-handedly perform such a difficult job.
3D MODEL OF INTERNAL COMBUSTION ENGINES
A modern car, most often propelled by an internal combustion engine. Such engines there are so many. They differ in volume, number of cylinders, power, speed, fuel used (diesel, gasoline and gas DVS). But, fundamentally, the device of the internal combustion engine, it seems.
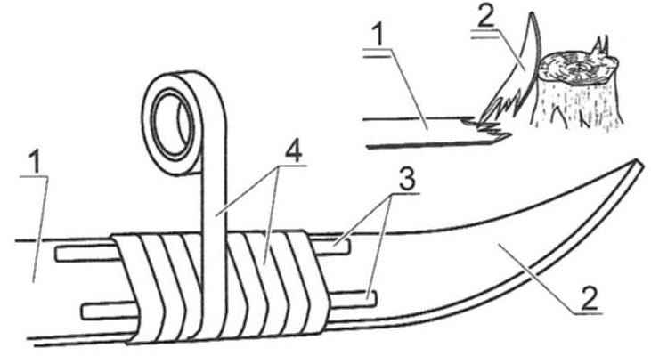
AND SHARPENING, AND DRILLING, AND MILL
To create a lathe-boring woodworking machine me prompted memories of school days when in the classroom I received the first skills of work on a lathe — lesson interesting and exciting. Since then, as they say, much water has flowed, but the desire to do of wood pieces of furniture with a beautiful chiseled details is preserved, but the necessary lathe I had. And I decided to do it, adapting to the bed of the other machine, consisting of a “circular saw” and electrofunk (see “M-K” № 1 ‘2011), thus obtaining woodworking mini-complex.
THE AIRCRAFT, F-3
In our city of Kingisepp were gliding club ROSTO, which I have since 1996 worked as a flight instructor. Of aircraft in the club were two light aircraft, four airframe. But they were not new. Money to buy new aircraft or the repair of old growth is no longer isolated. Aircraft equipment came into disrepair, and in 2000 the club was liquidated.
My life in aviation began from the age of 10, when I joined a model aircraft club. The cart worked for a long time and seriously, participated in competitions, received the title of candidate master of sports aerobatic models and aerial combat.
CERAMICS
Cookware with ceramic coating has existed for several centuries. The tradition to use it for brewing tea, cooking meals and preserved in our days thanks to modern processing technologies, which are used by manufacturers. Using high quality environmentally friendly materials, pottery for many years not losing its intensity. It will look great as in the home kitchen and in restaurant or cafe.
Ceramic utensils for the kitchen are presented in the form of teapots in which the drink will be tastier and healthier frying pans of different volumes and knives. This cookware is made of natural material, so ceramic cookware retains all the useful and nutritional properties of foods. Besides, does not produce overheating of harmful substances and eliminates the formation of scale.
THE UNIT IN THE COUNTRY
In the country, as shown by many years of experience gardeners for cooking predominantly uses electric. Industrial design of these heating devices, usually equipped with thermostats or as they are called, the power switches. Analysis of the causes of failure of the electric range shown in the S. Privalov (1) showed that a significant percentage of failures is necessary just for the power switches. There are some negative aspects of their failure.







