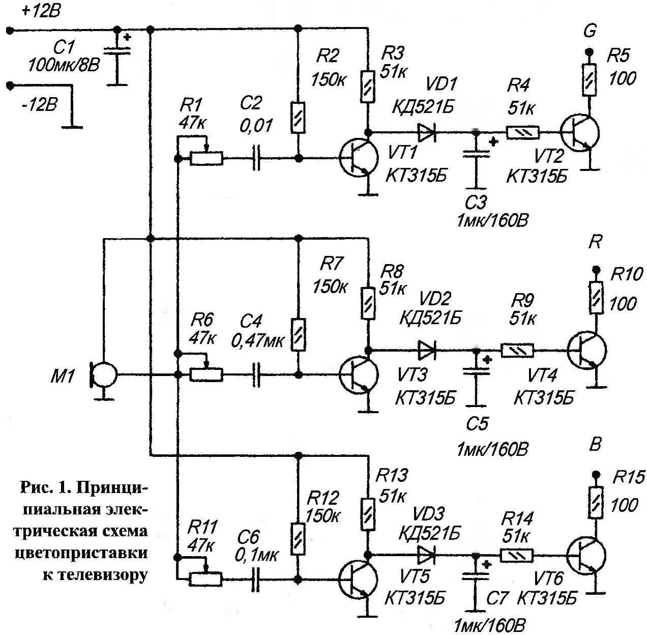
This attachment attaches to a regular television properties, a musical installation by changing the color of the image, respectively, the acoustic sound signal. When using the TV picture when speaking of the audience changes the color color.
Another use of the prefix is a color support of music programs with the aim of increasing their entertainment. Color television image will vary depending on the frequency and amplitude of the music signal. So, instead of blue and red appears green and green color changes to blue. Instead of crimson shade appear purple or brown. Patches of white telesurgery acquire pink tones. There are many different color combinations.

This is a safety alarm device (SLD) is designed to automatically alarm (electrozone) in the case of penetration of unauthorized persons in the protected object — an apartment, dacha, garage. It is more immunity and no false positives. The unit is powered by 12-volt battery GB1 of the eight cells that consume standby current less than 5 mA.