This tractor for almost 20 years, and all these years he not only regularly serves his Creator A. A. Safenano from the village of Alexandrov, the Tambov region, but also constantly improving. A feature of the car is a bucket-loader which is quite rare among self-made designs. This device is good because it optionally can be used as a blade, for example, when clearing snow from roads.TRACTOR-UNIVERSAL
This tractor for almost 20 years, and all these years he not only regularly serves his Creator A. A. Safenano from the village of Alexandrov, the Tambov region, but also constantly improving. A feature of the car is a bucket-loader which is quite rare among self-made designs. This device is good because it optionally can be used as a blade, for example, when clearing snow from roads.

Immediately after his return from Moscow to Koktebel in the fall of 1929 Sergei asked me to do a new airframe for aerobatics, — says the aircraft designer S. N. The lyushin.— There were many reasons that prevented me to take this job, and he began to design what later became SC-3 — “Krasnaya Zvezda”. Her design, very original, still lay in the framework of a familiar and accepted. Tasks that has set itself the S. P. Korolev was much more complicated. Here is how he talks about them:
The first successful experience of using helicopters in combat operations in Korea 1950 — 1953 showed that the U.S. army urgently needed a multi-purpose light helicopters, able to perform tasks on landing and transportation of troops, for fire support of infantry and evacuation of the wounded, to support the transport and liaison helicopters.
Led bulb (abbreviated SL) can be seen today in almost every home. And for good reason-they are economical. Energy conservation is that SL, for example, with a declared capacity of 9 watts and current consumption of just from 0.065 A, is the analog of the output light of the incandescent lamp 60 W, which consumes several times more.

In the history of Soviet and Russian automotive industry was not, perhaps, a more popular car than this modest, but very well built, tastefully done a 2.5-ton truck GAZ-51, or, as in my own way called it the drivers, the “lawn”.
The family car, which was launched at the Gorky plant in 1936, the machine “M-1” is, except it, there are four versions: semi-truck — “truck” “415”, “sedan” “11-73”, “Phaeton” “11-40” and all terrain vehicles models “61”. Last three cars — the second generation of the family, whose main difference is a powerful 6-cylinder engine is 4-cylinder the first two. But all machines have a lot in common or at least similar in appearance.
Two hundred years have passed since then, as it became known Seebeck effect and Peltier. The effect is to pump heat under the action of EMF (electromotive force), in other words, the thermoelectric semiconductor element operates as a heat pump.
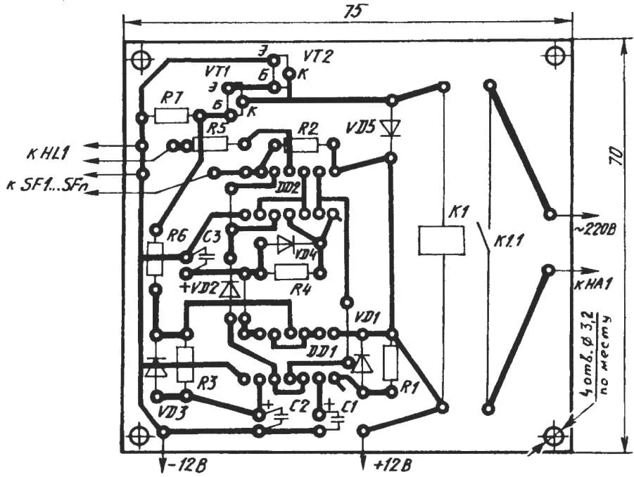
This is a safety alarm device (SLD) is designed to automatically alarm (electrozone) in the case of penetration of unauthorized persons in the protected object — an apartment, dacha, garage. It is more immunity and no false positives. The unit is powered by 12-volt battery GB1 of the eight cells that consume standby current less than 5 mA.
The defeat of the English troops on the European continent and the loss of almost two thirds of their tanks forced the British to seek the assistance of the United States. To make up for losses due to own production, the British was not possible.
The debut of the crossover class K2 of Great Wall Haval H8 was held in the spring of 2013 during the traditional auto show in Shanghai. Serial production began six months at the company’s plant in Boudine. At the Great Wall are proud to say that workshops are equipped with the most modern equipment, purchased from the best Spanish, German, Swiss and Japanese firms.