“Ah, summer red, I would love you, if not for the heat, and dust, Yes mosquitoes, Yes flies”. And although the high poetry of the great poet little combined with the dry prosaic lines, technical articles, these words can be safely put as the epigraph to this material. To stop the change of seasons in nature is impossible, and every year we have a “happening” summer, and with it come the usual worries of relief and localization of negative emotions, invariably manifested in humans with the appearance of annoying flying insects — mosquitoes, flies and other midges. To protect yourself from them, in nature and even at home someone buys a mosquito net, others treat themselves and family members with special insect repelling creams and formulations. However, possessing the skills, you can build a simple circuit protection device against mosquitoes, operating by using of ultrasonic radiation. What is ultrasound?
Ham radio
“CROCODILE” FOR HEAT SINK
Restraint solder radiodetal tweezers also serves as a heat sink. With the same purpose and possibly the use of clamp type “crocodile”, if it is put on the output of the semiconductor
LIGHT CONTROLS THE DOOR
Device for automatically switching-off the lights in the bathroom (dressing) room are designed to seamlessly allow the following situations:
1. In the served room is unoccupied, the door is closed or locked from the outside, the light is not lit.
2. Still in the bathroom (the toilet) no one. However, the door is open and lights are on. This situation occurs when the mean in the bathroom (toilet) for something: for example, a rag or a bucket or to execute the cleaning.
3. Inside behind a locked door is a man and the light in this room must be turned on (lit lamp ЕL1).
ELECTRONIC TRANSFORMER
A power transformer is to convert alternating current of one voltage to alternating current of another voltage at a constant frequency. The device in the normal “classic” transformer all know from school physics lessons. The principle of operation is based on electromagnetic induction. In the primary winding under the action of tension in the core induces a magnetic flux proportional to this voltage, which, in turn, an electromotive force of self-induction (EMF) in the secondary windings is directly proportional to the number of turns of these windings.
Electronic transformer (ET) and arranged differently, and the principle of its action is quite different. In fact, ET is a switching power supply — inverter voltage with electronic protection against short circuit, overload and excessive heating of the elements. All energy-saving lamps, lamps, lamps, fluorescent lights, illumination of aquariums and other similar devices are equipped with a FLOOR probe.
SOURCE THREE “STREAM”
For connecting various electronic and household devices designed for a constant voltage of 9, 12 or 15 V, requires adapter (the adapter from the network 220V). Usually every device it sells.
Meanwhile, there are many devices without adapters, but in some time the latter may be useful, for example, to power portable electric drill (screwdriver), which has lost energy output of the battery, or receiver, whose “exhausted”, or other similar event.
It must be sufficiently powerful and reliable power source, with automatic protection of output (triggered by a short circuit in the load) with the universality (outstanding various constant voltage) for use in the home.
DESIGN THE SOUNDS
Unusual sounds and sound effects using simple electronic consoles on-chip CMOS that is able to capture the imagination of readers.
The scheme is one of such boxes, presented in figure 1, was born in the process of various experiments with the popular CMOS chip К176ЛА7 (DD1).
This scheme implements a cascade of sound effects, especially from the animal world. Depending on the position of the engine variable resistor mounted on the circuit’s input, you can get almost real to the ear sounds: “croaking frogs”, “Nightingale trill”, “meowing cat”, “the bellowing bull”, and many others. Even the various human unintelligible combination of sounds like a drunken exclamations, and others.
COLOR SOUND
This attachment attaches to a regular television properties, a musical installation by changing the color of the image, respectively, the acoustic sound signal. When using the TV picture when speaking of the audience changes the color color.
Another use of the prefix is a color support of music programs with the aim of increasing their entertainment. Color television image will vary depending on the frequency and amplitude of the music signal. So, instead of blue and red appears green and green color changes to blue. Instead of crimson shade appear purple or brown. Patches of white telesurgery acquire pink tones. There are many different color combinations.
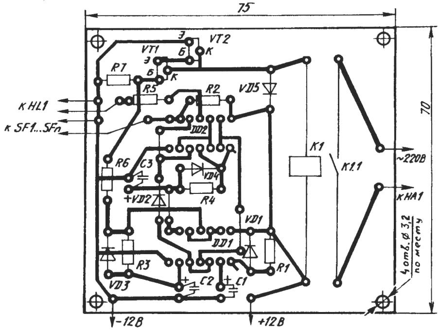
SECURITY ALARM
This is a safety alarm device (SLD) is designed to automatically alarm (electrozone) in the case of penetration of unauthorized persons in the protected object — an apartment, dacha, garage. It is more immunity and no false positives. The unit is powered by 12-volt battery GB1 of the eight cells that consume standby current less than 5 mA.







