Any front panel aluminum alloy easy to decorative treatment. For example, after drilling holes in them you can first put these parts can be anodized, and then painted. Both processes require no special equipment and can easily be made at home.
A small panel anodize in a glass cuvette. It pour distilled water and add 200 ml of technical sulfuric acid for every 800 ml of water. The panel is clamped with the ends of the U-shaped brackets and dipped into the electrolyte. Above it, on hangers, a dural plate-electrode (this may be the second antirhea panel).


Large sibelectroterm plants from time to time organize specialized exhibitions, where to study avenues its primary products are making their drawings. Among other things come across the description and drawings of a variety of original furniture. This is done in order to interest the buyers in the acquisition of various tools and machines on the one hand and on the other to promote their products. These materials — is a convenient data sources for Amateur designers.
In this article I will try to tell about my attempt to make a water cooling system for CPU in the home. This will describe the highlights and technical details on my own experience. If you are interested in a detailed illustrated manual for the manufacture, Assembly and installation of such a system, it is welcome under the cat.
Drafts — no. In the preparation of housing for the winter the first step in city apartments is the sealing of Windows and doors. The simplest solution for Windows is pozatykat cracks and seal them with paper tape. Of course, this measure makes it impossible to open the window for the entire winter, but reduces heat loss.
Of course, easier to repair in the apartment with an assistant. However, one who has experience with Wallpaper, knows, folding smeared adhesive Wallpaper in a certain way, you can cope alone, would have been only a ladder. However, it is only papering the walls. And now often, and the ceiling whitewashed, and paste over Here too without an assistant to do difficult.
(The end. See the beginning
Fans of Apple juice can offer simple to manufacture and does not require significant investment homemade juicer. It is made from an old washing machine.
Union gypsum and cardboard. In modern homes and in the individual construction of partition, suspended ceilings often are made of drywall – this versatile material. The popularity contributes to the fact that it is cheap, non-toxic, flame retardant, suitable for different humidity conditions. In addition, be aware that this sheet of finishing material is made from eco-friendly materials. In essence, it’s a thin panel, which is a kind of sandwich, the outer layers which leaves special lining cardboard and an inner layer or a filler composed of plaster and some extra special components.
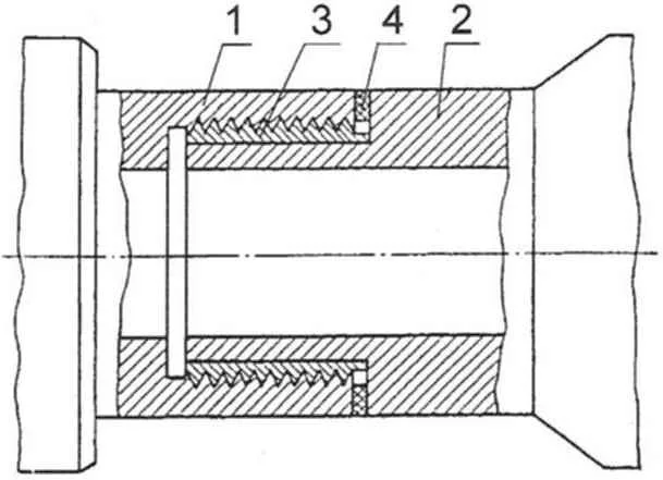
During repair works of structures with steel threaded connections of the work items that have to deal with the complexity of their separation due to corrosion of the thread. These phenomena can be caused by the influence of precipitation, condensation as a result of temperature changes, as well as in cases of operation in different aggressive environments.
I’m a longtime subscriber of your magazine, use a lot of printed in it. I especially liked the article “Fire… of water”, published in 